суббота, 2 февраля 2013 г.

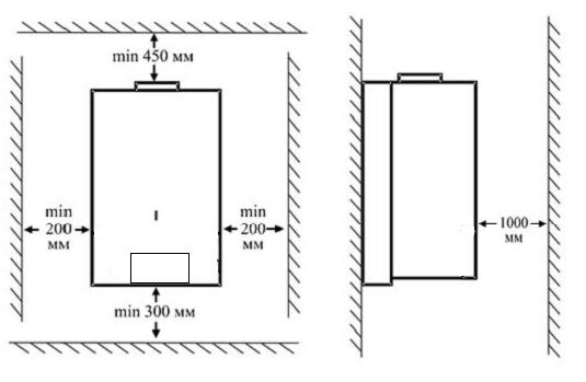
как устанавливать котел-плиту (совет специалиста)

Строительный рынок в Уручье

(открытая мебельная площадка)

Строительный рынок в Уручье

Боровая, 5, выставочная площадка, автостоянка ЂЂЂ2

выходной: суббота, воскресенье

УСТАНОВКА. МОНТАЖ. ДОСТАВКА.

ПОМОЩЬ В ВЫБОРЕ ПРОДУКЦИИ. КОТЛА.

Teплосфера Встраиваемая техника для кухни, встраиваемая бытовая техника Rihters в Минске

Комментариев нет:

Отправить комментарий